

APLICACIÓN
DE ROBOTICA INDUSTRIAL Y PLC AVANZADO
1 - IDENTIFICA EL PROBLEMA (DEFINIR EL ALCANCE Y LOS DETALLES DEL PROBLEMA)
Problema – La
fabricación de piezas de aluminio en
diferentes maquinas de moldeo para formar un
solo producto es una de los problemas que se presentan en la industria, cada
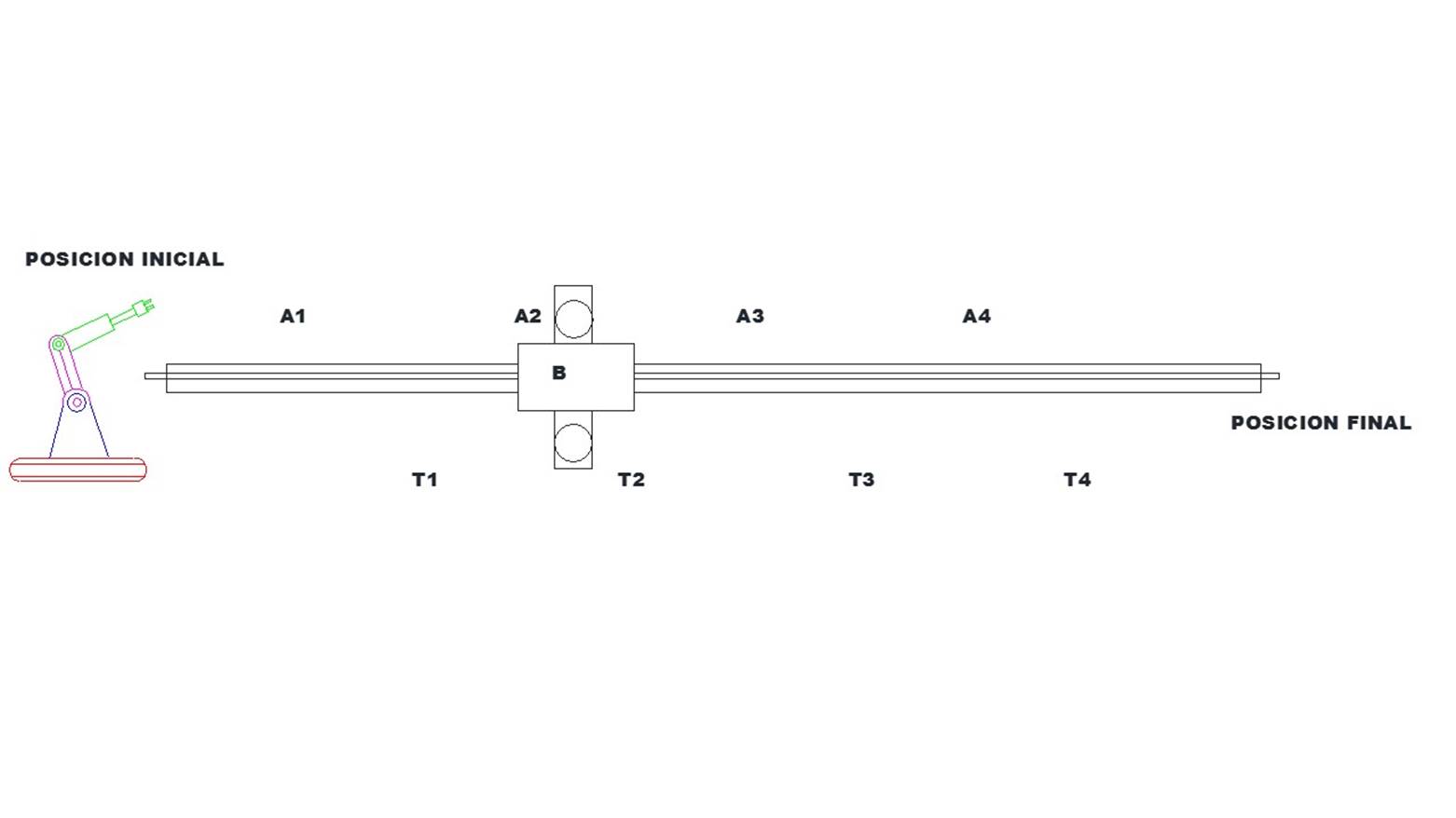
una de las maquinas moldeadoras produce una parte del producto y debe ser posicionada en el transportador
correspondiente para su ensamble
posterior, cada una de las maquinas tiene un sensor A1,A2, A3 y A4 que le indican al carro donde detenerse, para
mover el carro tenemos dos salidas S1 en una dirección y S2 en la dirección
opuesta cuando una moldeadora manda un producto el transportador S3 se activa
para sacarla de ahí, posteriormente el carro se mueve al transportador
correspondiente T1, T2, T3 y T4 en una secuencia bien definida , de manera tal
que las maquinas alimentan a su transportador que le corresponde.

1. EXPLICACIÓN DEL PROYECTO
1.1 Concepto.
Diseño, fabricación, suministro, instalación y validación para automatización del proceso de fabricación del producto XX del área de Maquinados, utilizando un robot montado sobre un riel móvil que lo ubica en alguna de las maquinas que componen el proceso.
1.2 Justificación.
Por el incremento de capacidad del proceso es necesaria la habilitación de equipos como robótica y plc avanzados de un producto mecánico por lo cual es necesaria la automatización en estas estaciones de trabajo.
1.3 Objetivo.
Automatización de proceso de fabricación en el área de producción mediante la aplicación del concepto de celdas de trabajo con robots para elevar la productividad en este proceso.
1.4
Alcance del Proyecto.
LA PRIMERA PRESENTACION SERA COMO SE MUEVE EL
CARRO DONDE SE MOTA EL ROBOT PARA MOVER EL ROBOT COMPLETO A TRAVEZ DEL SISTEMA
LO PODEMOS VER AL DAR CLICK AL SIGUIENTE VINCULO
2 –
DESCOMPOSICION (PARTIR EL PROBLEMA EN PARTES PEQUEÑAS)
El proyecto completo
se descompone en modulos el que corresponde a este problema será el de robótica
industrial que exploramos enseguida. Además de ello se requiere sistemas
neumáticos y sistemas de control y las maquinas que trabajaran en conjunto, asi
como el control requerido para que todos trabajen como una sola maquina

El modulo de robótica
industrial se descompone en submodulos como
1 – Generacion de
trayectorias para el robot
2 – El sistema de
seguridad del proyecto es una de las acitividades mas importantes del proyecto
:
;
;
;
3 – ABSTRACION
(IDENTIFICAR LAS PARTES IMPORTANTES DEL PROBLEMA)
- Elementos
que intervienen en un proyecto de Robótica
3.1 – Entradas y Salidas
a -
Que I/O y de qué tipo y cuantas entradas y salidas tiene disponible y que se
necesita para el proyecto.
b –
Que tipo de comunicación está disponible para las I/O Ethernet Serial, profibus, modbus, etc.
c - son de tipo sincrónico o asíncrono
d –
Se pueden monitorear las I/O
e –
Se pueden modificar On line
3.
:
:
:
Pasos Recomendados para resolver un problema de Robótica Industrial
I - Proceso de Inicio del Proyecto
1. Definir el problema con una definición clara.
Regularmente los problemas no están definidos claramente, esto es, el problema está ahí y probablemente tenga varias soluciones o varias formas de una sola solución el detalle se presenta al definir claramente el problema ¿Cuántos de nosotros somos capaces de definir los límites de los problemas? En la escuela nos enseñan a plantearnos problemas pero casi siempre nos dan los enunciados y el esquema teórico de cómo resolverlo. En la práctica debemos definir lo más claramente posible el problema, porque de aquí partimos para el resto del proceso.
2. Asimilar y organizar los datos necesarios de una masa de información irrelevante.
Cual es la información relevante del problema y como debemos organizarla. Desde luego esta habilidad va muy ligada a la primera. Si sabemos definir los límites del problema, nos será más fácil buscar lo que necesitamos. Tenemos gran cantidad de información, pero necesitamos centrarnos en la que nos ofrece las fuentes de información más fiables con herramientas de análisis crítico. Información corporativa el Internet, las redes sociales, etc. Debemos extraer lo sustancial de todo lo anterior, y ser capaces de trasladarlo a nuestro entorno.
4 – ALGORITMO
(DEFINIR UN PROCEDIMIENTO PARA LA SOLUCION)
Pasos
a seguir
1 – Checar las
condiciones iniciales
Definir
registros y entradas salidas a utilizar
2 – Tomar pieza de
posición HOME
3
– Mover placa hacia posicion x
4
– Estamos en posición X
5
– Mover robot a posicion (X1,Y1,Z1)
6
-
Mover robot a posicion (X2,Y2,Z2)
CONDICIONES INICIALES
IDENTIFICAR LAS ENTRADAS Y
SALIDAS
ESTABLECER LOS REGISTROS DE
POSICION EN EL ROBOT
IF CARRO
EN POSICION DE HOME THEN
TOMAR PIEZA NUEVA DE MAQUINA
IF TOMO LA PIEZA THEN
MOVER CARRO A MAQUINA DISPONIBLE
IF CARRO EN POSICION THEN
MOVER ROBOT A (X1,Y1,Z1)
:
:
:
RETORNAR ROBOT A (X2,Y2,Z2)
AUMENTAR VELOCIDAD
RETORNAR ROBOT (X1,Y1,Z1)
END IF
END IF
PROCEDIMIENTO ADQU1ERE PROCEDIMIENTO SUELTA
IF
OCUPADO
OCUPADO = FALSO
*esperar señal
* mandar señal
ELSE END
OCUPADO = VERDADERO.
END IF
END
PROGRAMA
DE USUARIO
----
----
CALL MONITOR DE ENTRADA
*utilizar región critica
CALL MONITOR DE SAL I DA
END
PROCEDIMIENTO:
MONITOR DE ENTRADA
IF REGION
VACIA THEN
* ocupar región critica
* poner la bandera de ocupado
ELSE
* guardar en cola de procesos
* suspender
END IF
5 –EVALUACION
(ANALISIS DE RESULTADOS )
Como
se selecciona un Robot para este tipo de trabajo
1 –
Cual es la capacidad máxima en Kilogramos a manejar en este proyecto
Ejemplo
20 Kgs Máximo
2 –
Cuantos Ejes son necesarios para el movimiento
Ejemplo
6 Ejes
3 –
Que tipo de Montaje requiere
Ejemplo
Montaje en el piso
4 –
Alcance Máximo requerido
Ejemplo
1.80 Mts
:
:
:
LOS PROGRAMAS DEL ROBOT PARA QUE ELABORE SU
TRABAJO EN ESTE SISTEMA ES LO QUE
VEREMOS A CONTINUACION
RESULTADO
FINAL DE LOS PROGRAMAS
SOBRE ROBOT SE VEN EN LA SIGUIENTE SIMULACION
SIMULACION DE ROBOT
INDUSTRIAL
7 - ANALIZAR LA DECISIÓN Y REVISAR RESULTADOS